Its the title which can be granted to any person having found a new solution to a technical problem. It allows him to prevent anyone else manufacturing or selling the invention without his license and, if need be, to pursue any infringers.
The patents actual duration is limited to 20 years, however. After this time, any patent falls into the public domain and may be used and exploited freely by whoever.
To obtain and register a patent, it is necessary to make a full and formal application for it, to demonstrate the creative activity and not to have previously shown the idea in public.
There are two scenari in which the registration of a patent is particularly useful:
1/ When the developed idea or technique is unlikely to be quickly superseded.
2/ When the inventor is not a manufacturer. The risk of theft of the inventors work would be maximum in this instance.
Thats why, in 1984, totally convinced of the potential success of their invention, Dominique and Bruno Legaignoux registered their first patent to protect the fruit of their research and development work. The registration also allowed them to bring the idea into public view, to research appropriate materials, to find sponsors, suppliers, and to promote the idea, etc.

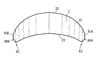
It relates to a wing with inflatable structure, created by Dominique and Bruno Legaignoux.
The first registration was made in France, on the 16th of November 1984 to be precise, then it was registered worldwide on the 8th of November 1985. It expired on the 7th of November 2005.
Dominique and Bruno Legaignoux facilitated the development of kiteboarding generally thanks to their fully water re-launchable and highly efficient inflatable kite, but they also have made improvements to the original patent which helped the new sport develop even faster.

in French, or download the unofficial translation
This patent relates to a 4 line control system which allows better control of the angle of incidence and steering of the wing. This patent describes bridling of the wing, and also the control bar.
At present, all manufacturers of inflatable kites use the technology devised by the Legaignoux brothers where it concerns 4 line kites and flying systems and the corresponding control bars.
The patent had been kept secret as long as possible and applied for just before the sales start of the Wipika wings in 1997.
Lets take an example: on one hand a car, and on the other the power steering system. Each has a separate patent.
The power steering is an improvement to the car, a patented enhancement which could not have been invented before the car.
A vehicle having 4 wheels, an engine and a power steering remains of course a car, it is not a new vehicle.
A cars manufacturer who adopts the power steering system for its vehicles should then pay royalties to the inventor of the car, as well as to the power steering inventor.
It's the same for the 4 line control system of our kites. Its an improvement which allows better control of a curved wing with inflatable structure.

It concerns a bridle system which allows easier backwards flying for re-launch purposes of big wingspan 4 line kite / wings. The same system also facilitates easier and less physical handling of the kite in medium and strong winds.
It was marketed on the Wipika Airblast in 2001 and 2002 under the name of "Reactive Bridle"
A number of brands took as a starting point this system of front and back line in continuous loop: Cabrinha RECON, WindWing SAFE, Flysurfer Psycho...
Two less known patents were applied for on April 16, 2003, one on a "leash free" control bar device for 4-line kite (the kite leash is integrated into the system) 

and the other on the span line intended to eliminate the jellyfishing from the high aspect ratio curved wings. 

Their new highly successful patent relates to the BOW concept which consists in giving some sweep to a wing to flatten its trailing edge then flattening the leading edge in a mechanical way to match the shape of the trailing edge and thus obtaining a flatter wing with large depower.

The BOW concept was the subject of two other patents: one on the pulley bar, 

the other one on a particular bridle shape 

Lastly, two divisionary patents were applied for in April 2007, based on elements contained in the 2004 patents. One protects the arch bridle which connects the two front lines.

The other one protects the sliding bridle which connects a front line to a back line.

Note: The Legaignoux brothers have never patented the safety devices they have worked out and which equip or equipped most of the bars on the market, to favour their diffusion.